GRAPHALLOY®
|
||||||||||||||||||||||||||||||||||||||||||||||||||||||||||||||||||||||||||||||||||||||||||||||||
|
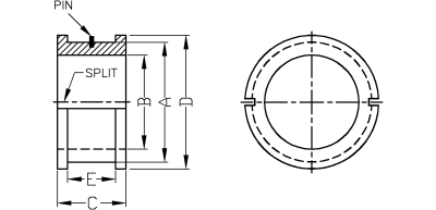
Part | Shaft Size |
Holder |
ID |
Length |
Flange OD |
E |
|
|
1017-624 |
1-1/2 |
2.125 |
1.505 |
1.970 |
2.375 |
1.500 |
|
|
1017-632 |
2 |
2.750 |
2.005 |
1.970 |
3.000 |
1.500 |
|
|
1017-639 |
2-7/16 |
3.250 |
2.442 |
2.970 |
3.500 |
2.250 |
|
|
1017-648 |
3 |
4.000 |
3.005 |
2.970 |
4.260 |
2.250 |
|
|
1017-655 |
3-7/16 |
4.750 |
3.445 |
3.885 |
5.125 |
3.125 |
|
Part |
Shaft Size |
Holder |
ID |
Length |
Flange OD |
E |
|
1017-624 |
38.10 |
53.98 |
38.23 |
50.04 |
60.33 |
38.10 |
|
1017-632 |
50.80 |
69.85 |
50.93 |
50.04 |
76.20 |
38.10 |
|
1017-639 |
61.91 |
82.55 |
62.03 |
75.44 |
88.90 |
57.15 |
|
1017-648 |
76.20 |
101.60 |
76.33 |
75.44 |
108.20 |
57.15 |
|
1017-655 |
87.31 |
120.65 |
87.50 |
98.68 |
130.18 |
79.38 |
|

